正信光电科技(宿迁)有限公司
简介:江苏正信光电科技有限公司成立于2020年06月18日,注册地位于宿迁经济技术开发区广州路1589号,法定代表人为李尔。经营范围包括一般项目:光伏设备及元器件制造;新兴能源技术研发;太阳能发电技术服务;光伏设备及元器件销售;新能源原动设备制造;技术进出口;货物进出口;进出口代理(除依法须经批准的项目外,凭营业执照依法自主开展经营活动)江苏正信光电科技有限公司对外投资3家公司。
经营范围包括一般项目:
光伏设备及元器件制造;新兴能源技术研发;太阳能发电技术服务;光伏设备及元器件销售;新能源原动设备制造;技术进出口;货物进出口;进出口代理(除依法须经批准的项目外,凭营业执照依法自主开展经营活动)等,企业品牌项目包括正信光电。
经营范围: 一般项目:光伏设备及元器件制造;新兴能源技术研发;太阳能发电技术服务;光伏设备及元器件销售;新能源原动设备制造;技术进出口;货物进出口;进出口代理(除依法须经批准的项目外,凭营业执照依法自主开展经营活动) |
地址:宿迁经济技术开发区广州路1589号

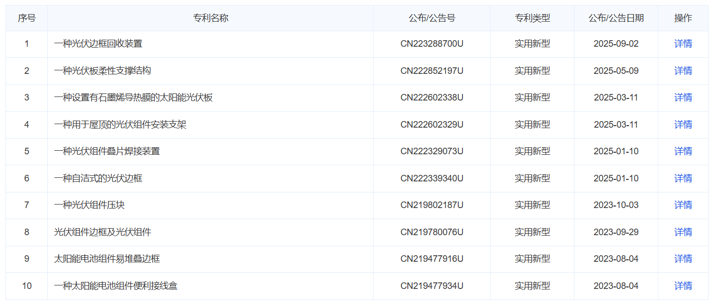
专利:

